

Products
Vehicle-mounted Terminal1.产品概述
1.1.产品简介
Q8是专为车载视频监控、远程视频监控开发的一款高性价比、功能可扩展性好的设备。它采用高速处理器HI3521D和嵌入式操作系统,结合 IT 领域中最先进的 H.264/H.265 视频压缩/解压缩技术、4G/3G 网络技术、GPS/BD 定位技术、WIFI 技术。可实现 1080P、720P、D1分辨率录像,汽车行驶信息记录和远程视频上传,配合中心软件可实现报警联动的中央远程视频监控、车辆智能调度管理及基于中心数据库的回放分析。产品具有抗振能力强、外观简洁、安装灵活方便、功能全面、可靠性高等特点。
1.2.规格参数:
技术项 | 技术指标 | |
产品型号 | EA-H04Q7 | |
功能概述 | 预览、录像、回放、网传、定位 | |
系统 | 操作系统 | Linux 3.18 |
控制模式 | UI 、遥控器、手机APP、WEB | |
视频 | 输入 | 4路AHD 1080P+1路IPC视频输入 |
输出 | 1路CVBS输出(VGA输出选配) | |
OSD | 字符叠加,如日期,时间,通道ID、GPS、车牌号等 | |
视频压缩格式 | H.265压缩编码. 采用Hisilicon 3521D高性能处理器. | |
预览功能 | 1、4画面拼接预览,支持事件触发全屏和拼接切换显示功能 | |
帧率 | 1080P:60帧/秒,单路最大15帧/秒;720P: 120帧/秒,单路最大30帧/秒; | |
分辨率 | 可支持1080P、720P、D1编码格式输入 | |
画质 | 1到3级录像可配, 最优1级, 最低3级 | |
码率 | D1: 512,768,1024 三级级可选;720P:1024,2048,4096, 三级级可选;1080P: 2048,4096,6144,三级级可选 | |
音频 | 音频输入/出 | 3路音频输入、1路音频输出,独立对讲手麦接口 |
压缩格式 | 支持G.726,G711编码 | |
录像 | 录像方式 | 支持SD卡、HDD硬盘循环录制,录满硬盘再录SD卡,并进行循环删除(删除的是时间最早的录像)支持HDD循坏录像,SD卡镜像,缺失录像。 |
录像搜索 | 可根据录像时间、录像类型、录像储存等条件搜索 | |
录像模式 | 默认开机录像,支持手动录像、报警录像、定时录像等 | |
录像回放 | 支持本机回放,最大支持4路同步回放,同时对文件中的车辆信息进行分析 | |
支持快进、快退、播放、暂停控制,支持2, 4, 8, 16倍速度快进或快退,支持选时回放控制 | ||
网络 | 3G/4G/5G | EVDO/TD-SCDMA/WCDMA/TDD-LTE/FDD-LTE 等 |
WIFI | 802.11b/g/n/ 2.4G/5.8G可选 | |
Ethernet | 网络航空头 (100 M) | |
定位 | GPS/BD | 定位,速度检测,时间同步 |
存储 | 2.5寸硬盘 | 支持一个2.5寸硬盘,2TB容量 |
SD卡 | 支持一张SD卡,256G容量(可内置扩容一张SD卡) | |
接口 | USB | 1xUSB2.0,用于数据导出,升级使用 |
SD卡 | 2 x SD 卡槽 | |
SIM卡 | 1 x SIM 卡槽,流量卡插槽 | |
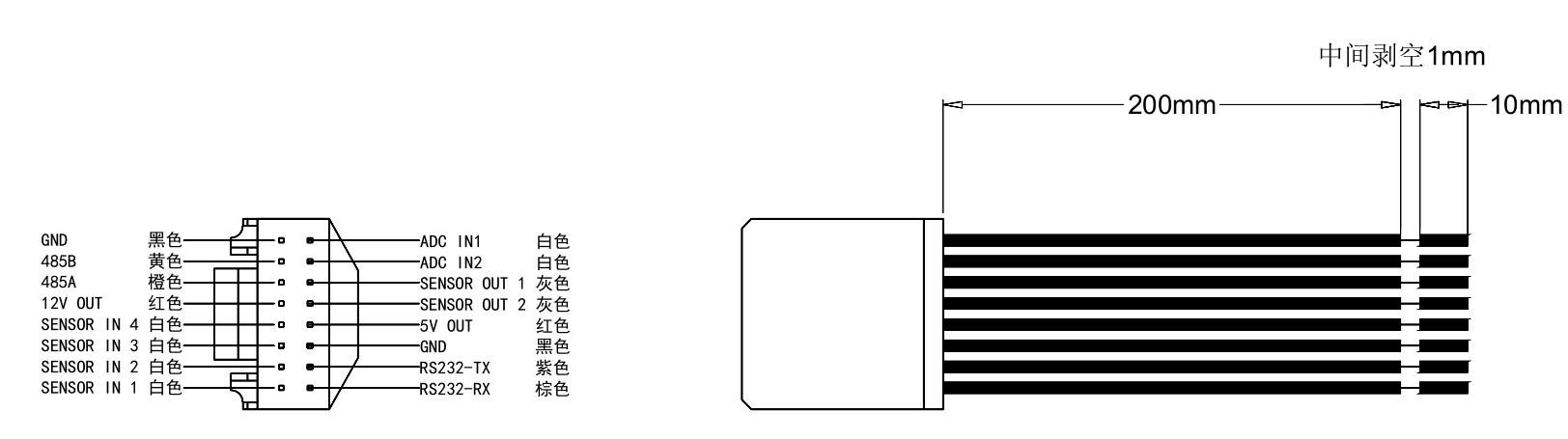
串口 | 1 x RS232、1 x RS48 | |
开关量 | 4路输入,2路输出 | |
模拟量 | 2路模拟量输入 | |
对讲 | 1 路专用对讲手麦接口 | |
WIFI-ANT | WIFI天线接口 | |
4G-ANT | 4G天线接口 | |
GPS-ANT | GPS天线接口 | |
电源输入 | 8~36V | 输入电压为+8V~+36V,电压长期低于8V,或长期高于36V,设备自动关机,进入保护模式 |
电源输出 | CAME_12V * 6 | 4路摄像头电源输出,1路显示屏电源输出,1路网口电源输出,每路0.5A |
12V OUT | 输出电压12V(+/-0.2V),最大电流1A | |
5V OUT | 输出电压5V(+/-0.2V),最大电流1A | |
车钥匙(ACC)信号 | ≤6V | 车钥匙关闭 |
≥7.5V | 车钥匙打开 | |
内置UPS | 5x7F*2.7V | 上电充电,3分钟充满。外部掉电,可保持系统工作7S,完成数据保存关机 |
功耗 | 裸机 | ≤5W |
全功能 | ≤16W | |
物理特性 | 尺寸(mm) | 177 (L)x 186.8(W) x 54(H) |
环境 | 工作温度 | -20-70℃ |
工作湿度 | 8%-90%(无凝结) | |
1.3.产品尺寸
单位:mm

前面板接口



后面板接口



1.4.产品安装




1.5.遥控器

1.6.常见问题解答
问:为什么接电后设备仍然无法启动
原因 1:电源电压未达到 8-36V 或者功率未达到 50W 以上。
原因 2:硬盘锁未关闭。
原因 3:接电方式不正确,请参考 1.3 电源接线方式说明。
原因 4:主板或者电源硬件故障,请联系供货商。
问:为什么 3G/4G 拨号不成功
原因 1:设备未开启 3G/4G 拨号。如果是 3G VPN 专网需要设置 APN、拨号号码、用户名和密码。
原因 2:设备 3G 天线未连接好。
原因 3:SIM 卡停机或者未开通 3G /4G服务。
问:为什么连接移动网络已经成功,设备仍然无法连接平台
原因 1:服务器 IP、设备 ID 号等平台登录参数设置不正确。
原因 2:平台服务器运行状态不正常,请检查服务器的数据库服务以及其他组件是否运行正常
问:为什么无法获得卫星定位信息
原因 1:卫星定位信号必须在室外才能获得,请确认天线是否在室外。
原因 2:查看天线是否插入,是否插错位置。
原因 3: 查看信息界面的星值,并与厂家联系
问:为什么IPC 添加后仍显示无图像
原因 1:网络连接错误。请检查主机、IPC 是否连接并通讯正常,且 IP 地址是否在同一网段内。
原因 2:IPC 管理密码输入错误。检查 IPC 密码是否正确。
原因 3:IPC 与主机软件不兼容导致无法识别,请更换 IPC。
原因 4:请查看IPC编码设置是否为H.264